界面新闻记者 |
成功过会后,嘉德利距离登陆A股市场仅一步之遥。这家主营超薄BOPP(双向拉伸聚丙烯)电工膜的企业,向市场描绘了一幅高速增长的发展图景:2024年全球市场占有率排名第二、国内第一,2025年固定资产突破6亿元,在建工程达3.44亿元,产能逐年攀升。
然而,当界面新闻将嘉德利近三年的财务数据、子公司招标公告,与其客户公开信息、行业同行动态交叉比对后却发现,这份发展图景背后,隐藏着诸多“异常信号”。
同行收缩产能,嘉德利逆势扩张
2024年,嘉德利营收和净利润分别同比增长38.95%和68.99%,表现出强劲的增长势头。但进入2025年,这一高增长态势戛然而止——营收增速降至3.18%,净利润增速滑落至2.35%。
“制造业企业的业绩增速通常相对平稳,这种‘大起大落’的轨迹,在IPO关键节点确实格外扎眼。”一位长期关注新材料行业的投行人士告诉界面新闻记者,“结合行业周期看,2025年新能源领域需求并未出现大幅下滑,嘉德利增速骤降,值得深究。”

与增速下滑相比,更值得深究的是嘉德利的扩产之举。
从全球格局看,以日本东丽为代表的日本企业处于行业领先地位。东丽在新能源车用超薄膜生产技术上全球第一,产品超薄化、耐压值等核心指标优势明显,产品主要供应日本松下、尼吉康等日系企业,极少进入中国市场。东丽现有4条生产线,仅在2023年公告扩产40%(2025年投产),未来暂无进一步扩产计划。
欧洲企业方面,德国创世普、特威高等拥有数十年生产经验,设备与原材料采购渠道与嘉德利相似(设备多来自布鲁克纳,原材料来自北欧化工),在薄型膜、超薄膜领域具备一定竞争力,但近年来受欧洲高电力成本影响,竞争力持续削弱。其中,德国创世普现有3条产线,近期已申请破产,未来产能或将进一步收缩。
国内同行中,起步最早的铜峰电子目前拥有8条产线,2025年后无任何产能扩张计划;另一家同行大东南,近期也未披露扩产规划。
“同行不扩产,核心原因是下游需求压力较大,盲目扩产只会加剧产能过剩,压缩盈利空间。”一位新材料行业分析师在采访中表示。
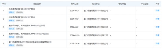
与行业收缩形成鲜明对比的是嘉德利的“激进扩产”。嘉德利目前已投产8条生产线,且正处于产能集中投产阶段,不仅有已转固的7、8号生产线,还有在建的9、10号生产线及厦门新材料生产基地(一期)项目,甚至还有未在招股书中披露的1、2号线扩建项目,扩产动作密集且高调。
招股书披露,9、10号生产线及厦门新材料生产基地(一期)项目预计新增产能7500吨。1、2号产线扩建项目计划新增产能2700吨。两者合计将达1万吨,而嘉德利在手订单不过1100余吨。
真实产能成谜
嘉德利的扩产图景,看似气势如虹,但深入梳理其产能数据与生产线动态,却发现诸多矛盾。
先看产能与资产的“剪刀差”。2024年,嘉德利标准化产能从1.29万吨增至1.79万吨,增幅达39%,对于制造业企业而言,这一增幅堪称显著。但诡异的是,同年公司固定资产为3.41亿元,在建工程0.78亿元,与2023年相比无显著增加,无任何新生产线投产的痕迹。
对此,嘉德利解释称,“5、6号生产线分别于2023年7月和12月投产并转固,合计新增有效产能约6000吨,机器设备增长率达59.02%,成新率同步提升。”言外之意,2024年的产能增长,源于2023年转固产线的产能释放。
到了2025年,情况发生反转。这一年,嘉德利固定资产从3.41亿元猛增至6.20亿元,增幅达82%;在建工程从0.78亿元增至3.44亿元,增幅达341%。公司称,新增固定资产主要来自7、8号超薄BOPP项目的转固,看似是产能大幅扩张的信号。但公司2025年标准化产能仅从1.79万吨增至1.98万吨,增幅仅10.6%,与资产增幅形成巨大“剪刀差”。
嘉德利对此解释称,“2024年及2025年1-6月,无新增生产线,增长率下降;7号产线于2025年9月投产,8号产线于2025年12月投产,2025年产能未完全体现。”按照这一说法,2026年产能应大幅提升。不过,结合行业需求压力,新增产能能否消化本身就是一大疑问——目前嘉德利在手订单仅1147.58吨,即便产能利用率达100%,后续新增1万吨产能的消化压力依然突出。
更值得注意的是,嘉德利在不同公开资料中,关于7、8号生产线的产能数据出现三个截然不同的版本。根据嘉德利2024年12月发布的环评报告表,该项目新增2条生产线,年增产3200吨。嘉德利首轮问询回复则显示,7、8号生产线有效产能合计5807.38吨,较环评报告高出81%。在首轮问询回复另一处及第二轮问询回复中,公司又披露两条生产线达产产能合计4000吨,与前两个数据均不吻合。
按照嘉德利的说法推测,2025年的产能仅新增1200吨,是因为7、8号产线在下半年投产。那么,待7、8号产线产能攀升后,仍有2000吨到4000吨的产能待消化。
“同一项目的产能数据差异如此之大,公司却未在多轮问询中给出合理解释,也未说明统计口径差异,难免让人怀疑其产能数据的真实性。”一位不愿具名的会计师事务所合伙人对界面新闻记者表示。
多条产线同时在建,进一步加剧了产能迷雾。这一切,要从嘉德利唯一全资子公司——厦门市嘉德利新材料有限公司说起。天眼查显示,2023年底,该子公司在厦门市海沧区购入一块5.88公顷的工业用地。2024年1月,该子公司高调发布“嘉德利新建9、10号超薄BOPP新材料生产线”招标公告;同年6月,又紧接着发布“新建嘉德利厦门新材料生产基地”。
但诡异的是,这份高调的扩产计划,并未及时体现在嘉德利的财务披露中。直到2025年,嘉德利的在建工程明细里才首次出现“嘉德利新建厦门新材料生产基地(一期)”项目,该基地恰好包含了此前高调招标的9、10号生产线。
更令人不解的是7、8号生产线与9、10号生产线的招标、环评及在建工程披露时间线完全脱节。公开信息显示,嘉德利直到2024年8月,才启动7、8号超薄BOPP新材料生产线项目的招标工作,随后经过两次环评公示,直到2025年1月16日,该项目才正式获得环评批准公示。但在2024年底的在建工程明细中,嘉德利已经披露包含了7、8号产线账面余额2559万元。
“按照环保审批的常规流程,一个项目还没有完成环评审批、拿到环评批复,理论上是不应该进入实质性建设阶段的。”一位长期从事环保审批咨询的业内人士在接受界面新闻采访时直言。
界面新闻注意到,2025年嘉德利资产负债表中,母公司“其他应付款”高达1.47亿元,而合并报表中仅0.01亿元,这意味着母公司与子公司之间发生了约1.46亿元的内部资金往来。这笔资金的具体流向和用途,公司并未给出明确说明。
时点选择与数据“打架“
此外,嘉德利总部大楼的转固时点也引起市场关注。
嘉德利招股书的“上会稿”中(数据截止2025年6月30日),总部大楼项目预算金额为4913万元,累计已投入4560万元,投入进度达90%,预计可达使用状态时间为2025年11月。
而在嘉德利招股书的“注册稿”中(数据更新至2025年12月30日),总部大楼的累计投入金额微增至4596万元——半年时间,投入仅增加了36万元。同时,预计投入使用时间从2025年11月延后至2026年1月。此外,注册稿中还多出了一项“其他零星工程”,金额为339.5万元。
对于完工时间因何推迟?“其他零星工程”是什么?嘉德利并未说明。
嘉德利的问题还不止这些,与客户数据“打架”也存在于招股书中。
鹰峰电子作为嘉德利的主要客户,双方的交易数据本应一致。界面新闻记者注意到,嘉德利披露的2023年应收账款明细中,鹰峰电子的应收账款余额为1246.13万元。这意味着,嘉德利在2023年对鹰峰电子拥有1246.13万元的债权,对应鹰峰电子应支付给嘉德利1246.13万元的帐款。但是,在鹰峰电子公开披露的2023年应付账款前五客户名单中,第一大客户的应付金额为910万元,且嘉德利并未出现在其应付账款前五客户中。
针对上述问题,界面新闻联系嘉德利采访,截至发稿未获回应。